首页
部门概况
部门职责
机构设置
通知公告
专项简报
规章制度
国家法规
地方法规
学校文件
部门文件
工作流程
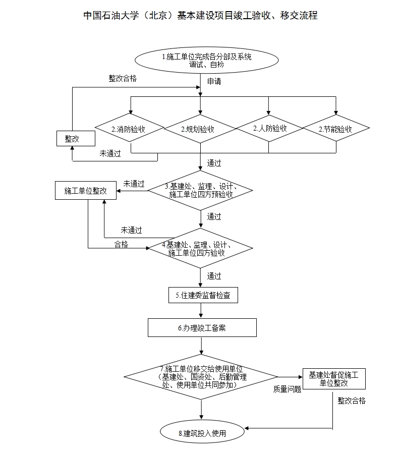
基建流程
专项流程
表格下载
基建表格
专项表格
校园规划
建设成果
学校首页
首页
部门概况
部门职责
机构设置
通知公告
专项简报
规章制度
国家法规
地方法规
学校文件
部门文件
工作流程
基建流程
专项流程
表格下载
基建表格
专项表格
校园规划
建设成果
学校首页
当前位置:
首页
>
工作流程
>
基建流程
TOP